Снегозадержатели на крышу: помним о безопасности
Российский климат суров и скопление большого количества снега зимой на кровлях неизбежно. Такие скопления снега и наледи на крышах являются потенциальной угрозой здоровью и жизни для прохожих. Для того, чтобы свести эту угрозу к минимуму используют специальные защитные элементы — снегозадержатели на крышу, основной функцией которых является удерживание пластов тающего снега от сползания.
Имея свой дом, хозяин сам решает, как ему поступить – поставить снегозадержание на кровле или периодически выходить на крышу, чтобы очистить ее от снега, рискуя в это же время своим здоровьем. Думается, что немногие домовладельцы готовы приглашать для очистки снега с крыши специализированные организации ввиду высокой стоимости услуг. Да и не каждая организация может предоставить такие услуги людям, проживающим вдали от города. Поэтому есть определенный смысл в том, чтобы установить снегозадержатели на крышу своими руками.
Виды защитных конструкций
На сегодняшний день, строительный рынок предлагает покупателю несколько видов снегозадержателей, а именно:
- трубчатые;
- решетчатые;
- пластинчатые или уголковые;
- крюки – снегостопоры.
трубчатые задержатели снега на мягкой кровле
Трубчатые снегозадержатели – это конструкция, состоящая из двух рядов металлических труб небольшого диаметра, которые жестко закреплены в кронштейнах. Сами кронштейны крепятся к стропилам или обрешетке. Примером таких снегозадержателей могут быть вид оконных гардин, на которые вешаются шторы на кольцах.
Прочность трубчатого снегозадержателя зависит от того, на каком расстояния находится нижняя труба от плоскости крыши. Кроме этого на прочность оказывает влияние, на каком расстоянии между собой установлены сами трубы снегозадержателей. Конструкция увеличивается путем увеличения длины трубок между кронштейнами, но в этом случае прочность будет уменьшаться. Чтобы этого избежать необходимо шаг кронштейнов делать меньшим.
Нужно сказать, что установленные своим руками снегозадержатели одновременно являются и некоторым подобием ограждающей конструкции, так как могут задержать падение человека с кровли.
Решетчатые снегозадержатели выполненные в виде решеток также укрепляются
на кровле кронштейнами. Они изготавливаются из металлического профилированного материала, собранного в рамную конструкцию с вертикальными поперечинами. Такие знегозадержатели увеличиваются путем соединения между собой решетчатых секций.
Пластинчатые или уголковые снегозадержатели представляют собой конструкции из листов оцинкованного металла или профилированного кровельного металлического покрытия. Недостатком таких элементов является то, что они не имеют достаточной прочности и не могут удерживать большие массы снега.
Задержатели в виде уголков и пластин рекомендуется использовать на крышах с углом ската не более 30%
Конструкция состоит из опорного элемента, изготовленного из прочного материала, и декоративной накладки. Накладка изготавливается из того же кровельного материала, что и основное покрытие крыши. Как пластинчатые, так и уголковые конструкции располагают параллельно коньку.
Одним из видов защиты от схода снега являются крюки – снегостопоры, которые устанавливаются на мягких рулонных кровлях.
крючья
Они не предполагают задержку схода снега с крыши, так как рулонные кровли чаще всего устраивают с минимальным уклоном, нет смысла в установке других конструкций снегозадержателей, так как очистка крыш все равно производится вручную.
Необходимость в дополнительно защите
Какой вид снегозадержателя выбрать для кровли зависит в первую очередь от климатических показателей данного региона, от угла наклона крыши. А вот необходимость в установке таких конструкций на крыше дома не подлежит сомнению. Для интереса, можно посмотреть на таблицу, в которой указывается, сколько снега может выпадать в любом регионе нашей необъятной России. Данные взяты из СНиП 2.01.07-85
Цифры показывают, сколько килограмм снега давит на один квадратный метр крыши в зависимости от климатического региона. Можно подсчитать, что кровля площадью 50-60 кВ м может нести на себе до 12 тонн снега. Если крыша имеет угол наклона больше 25 градусов, при расчетах снеговой нагрузки к цифрам из таблицы применяют коэффициент 0,7.
При уклонах кровли более 60 градусов, монтаж снегозадержателей не производится. Ведь на таких кровлях снег попросту не задерживается.
Установка снегозадержателей
Не все конструкции снегозадержателей можно устанавливать на готовые кровли. Крюки – снегостопоры монтируются в процессе укладки кровельного покрытия, так как основная их часть крепится непосредственно к обрешетке и закрывается полотнищами рулонного материала или плитками гибкой черепицы, с таким расчетом, чтобы исключить попадание воды в места креплений. Для того, чтобы установить такие конструкции в шахматном порядке нужно раскрывать всю кровлю и делать новое кровельное покрытие с полной гидроизоляцией.
Установку снегозадержателей на крыше производят креплением в каждую верхнюю волну с верхнего края. Снизу крепление производится через волну. Если площадь крыши достаточно большая имеет смысл установить несколько рядов таких конструкций. Можно в качестве снегозадержателей использовать обычный металлический уголок с большой прочностью, но его вид будет не соответствовать общему виду крыши.
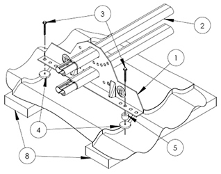
1 — крепление, 2 — трубки, 3 — саморезы , 4 — уплотнители, 5 — втулки пластиковые, 6 — болты 8*35, 7 — гайки, 8 -обрешетка
Трубчатый и решетчатый могут устанавливаться на любых стадиях возведения кровли, из любого кровельного материала. Причем, как в процессе монтажа, так и на уже готовую кровлю, даже спустя некоторое время. Конструкции устанавливаются поперек ската, в то время как опорные пластины, к которым крепятся вертикальные кронштейны, должны располагаться вдоль ската кровли. Опорных пластин может одна или две, направленные в разные стороны.
Решетчатый снегозадержатель может иметь разную длину опорных пластин. Это зависит от высоты самой конструкции и расчетной нагрузки, которую она должна выдерживать. Снегозадержатели трубчатые или решетчатые могут устанавливаться на крышах с любым уклоном, при длинных скатах кровли их ставят несколькими рядами параллельно коньку в шахматном порядке или сплошной линией.
Обслуживание крыш
При своевременном решении вопроса, связанном с обслуживанием крыш, можно избежать дальнейших работ по установке снегозадержателей для металлочерепицы или любой другой кровли. Это делается на стадии проектирования дома и выбора конструкции крыши.
Выбирая крышу с достаточно крутыми скатами, можно избавиться от установки снегозадержателей, но это повлечет за собой больший расход кровельного и пиломатериала.
Но эти затраты компенсируются тем, что они одноразовые и освобождают домовладельца от периодической очистки снега с крыши.
При больших снегопадах снег накапливается на крыше и в один прекрасный день он все-таки сойдет с кровли, возможно повредив снегозадеоржатель. А если такового не случится, то под весом снежного покрова промнется кровельный материал, нарушится герметичность соединений, в итоге — протечки кровли.
Перед тем как установить снегозадержатели, нужно позаботиться об установке и ограждающих конструкций кровли, мостиках или лестницах, которые сделают работу по обслуживанию кровли безопасной. Ограждение кровли, если её высота превышает 6 метров от уровня земли, устанавливается по всему периметру кровли, и должно быть прочным и высоким, согласно действующим нормам и правилам в строительстве.
